2025-01-24 10:29
已查看153次
1.范圍
GB/T 22638的本部分規定了鋁箱針孔的檢測方法。
本部分適用于鋁箔針孔數量及直徑的檢測。
2 方法原理
在規定的環境及燈箱光源下,利用鋁箔針孔的透光性,來觀察針孔的數量,并測量針孔的尺寸。
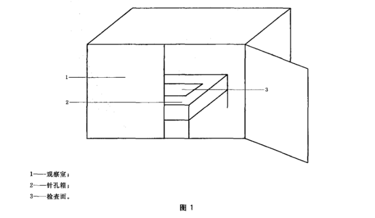
3觀察窒及針孔箱
觀察室示意圖見圖1。針孔箱為木質或鐵質箱,針孔箱箱體長面裝有一塊厚度為5mm的毛玻璃,毛玻璃表面留出不小于0.1m’的槍查面,檢查面四周用黑紙襯邊以擋住散射光,箱內裝有日光燈,日光燈在箱內均勻分布。針孔箱內光然度為12001x~15001x,毛玻璃透射光照度為10001x左右,光線在檢測面上均勻分布,環境光照度 201x~501x.

檢測儀器推薦:PAHT-30鋁箔針孔度測試儀

試驗步驟:
5.1.2 針孔箱宜為木質箱,體上面為一塊愿度為5mm的磨砂玻璃,磨砂玻璃表面留出適宜面積的檢測面,檢測面面積宜不小于0.1m',四周不得透光。
5.1.3 針孔箱箱內有發光源,砂玻璃透射光賦度應為1000lx~1500lx,光線在檢測面上均勻分布。
5.1.4 試樣檢測面上方觀察區域環境光照度應為201x~50lx。
7.1 針孔數量的檢測
7.1.1 在觀察室內,將待測侶箔放在針孔箱檢測面上對可見針孔進行計數,忽略直徑小于0.02mm的
7.1.2 觀察距離約為 0.5 m,觀察者視力(或矯正視力)不低于 5.0.針孔。
7.1.3 鋁箔晴面為檢查面。
7.1.4 當檢測鋁用途為電力電容器時,宜采用中間截去25.4mmX25.4mm(或100mmX100 mm)面積的檢查框在鋁第上移動,對最密集處可見針孔進行計數。
7.2 針孔直徑的檢測。
7.2.1將帶針孔鋁箔暗面朝上放在針孔箱上。
7.2.2將讀數顯微鏡置于鋁箔上,調節顯徽鏡十字準線,使針孔處于視野的中央。
7.2.3先旋動粗準焦螺旋,再旋動細準焦螺,直到看清針孔邊緣。
7.2.4調節縣微鏡十字準線,使其與針孔左邊緣相切,記錄是微鏡讀數 。
查看更多 >
?查看更多 >
?查看更多 >
?查看更多 >
?查看更多 >
?查看更多 >
?
聯系我們