2024-05-24 09:52
已查看73次
YY T 0342-2002 外科植入物接骨板四點彎曲的測定:
骨科接骨板的作用:
1、連接固定作用,維持復位的位置,當骨折取得良好復位以后,由于肌肉和重力的作用會引起骨折再移位,因此必須給予固定。接骨板是直接固定在骨折端,是直接固定,石膏是在體外隔著皮膚肌肉組織間接固定,間接固定牢固性差,接骨板是直接固定,固定強度比較強,堅強可靠。
2、保持骨折正常愈合。如果斷端不穩定,舉個通俗的例子來說,就像種了一棵樹一樣,如果不培土不固定就會影響生根發芽,斷端有移動的情況骨折愈合就會減慢,甚至導致骨折不愈合。
3、有利于肌肉關節的恢復,堅強的內固定肢體疼痛消失比較早,患者可以早期進行肌肉關節的鍛煉,這樣日后恢復功能要好一些,石膏固定由于固定強度差,關節也被固定,關節僵硬發生的可能性就比較大。關于接骨板彎曲強度的測試方法,按照標準YY T 0342-2002外科植入物接骨板彎曲強度和剛度的測定來執行。
檢測設備:
PBSC-BP10醫用接骨板試驗機

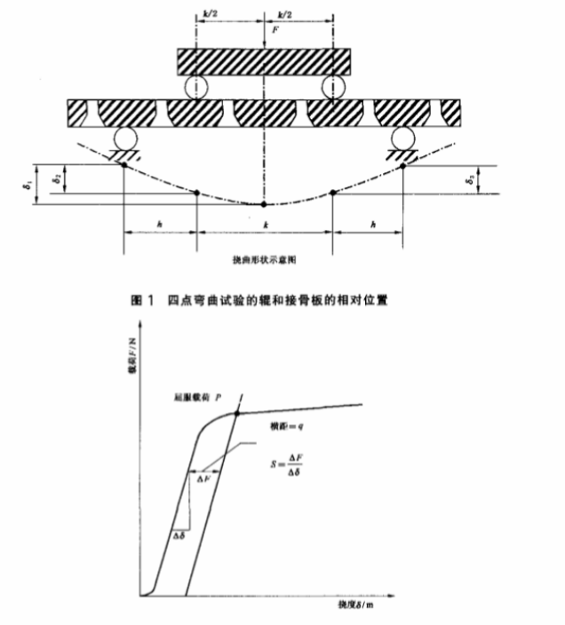
用第3章規定的裝置進行彎曲試驗。用圓柱形輾軸測試平面接骨板和橫截面彎曲接骨板的彎曲強度和剛度,其中橫截面彎曲的接骨板距中心平面的偏離量不得超過b/6(b是接骨板的寬度)。用外形適當的棍軸對其他接骨板進行測試。
4.2試樣的放置
將試樣放置在測試臺上,并按如下所述方法確定其位置:
a)放置接骨板使兩個內側輻軸與將同骨骼相接觸的接骨板表面相接觸。
b)如果接骨板是對稱的,那么對稱地把最靠近對稱中心的兩個螺孔放在兩個內側輾軸之間。c)如果接骨板有一個中心螺孔,那么對稱地把中心螺孔和一個其他相近螺孔放在兩個內側/軸
之間。
d)如果接骨板是不對稱的,那么把兩個螺孔放在兩個內側輻軸之閻,使意欲產生斷裂的位置在兩個內側輻軸之間。
c)兩個外側窯軸應放置在與內側轆軸等距離h(m)的位置上(圖1所示),使在長度方向上內側輻
軸和外側棍軸之間只有一個孔。
f)應確保兩個內側混軸不與接骨板有螺孔的部分相接觸。只要可能,兩個外側輻軸也不應與接骨板有螺孔的部分相接觸。
g )測量兩個內側輕軸之間的距離k(m).
h)校準測試試樣的軸線﹒使它與輾軸的軸線相垂直。
)安裝量具測量接骨板相對其外側輾軸支撐部位初始位置的撓度(m):
1)在兩個內側輾軸之間的線性中心對應的位置安裝量具測量6,或2>在一個內側輾軸中心對應的位置安裝量具測量&,或
3>在每個內側鞮軸中心對應位置安裝量具測量6。和&.如果接骨板上孔的位置在接骨板長度方向上不對稱,推薦采用方法3)。
4.3 試驗力F的施加
在指示的中心載荷線上施加試驗力F,測量相應的撓度。逐漸地增加力F的數值,記錄每個時間間隔的相應撓度,繪制出一個以力F為縱坐標,撓度à為橫坐標的曲線圖,直到獲得或者接骨板斷裂時的F值(F一F...),或者接骨板撓曲使載荷一—撓度圖給出明顯的屈服點時的F值(F=P),如圖2所示。

查看更多 >
?查看更多 >
?查看更多 >
?查看更多 >
?查看更多 >
?查看更多 >
?
聯系我們